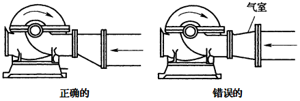
1. 变径应采用偏心异径管,并应管顶平接


15s909—P37




15s909—P37


消防给水及消火栓系统技术规范
GB50974-2014
5.1.13 离心式消防水泵吸水管、出水管和阀门等,应符合下列规定:
12.3.2 消防水泵的安装应符合下列要求:
1. 变径应采用偏心异径管,并应管顶平接


15s909—P37




15s909—P37


消防给水及消火栓系统技术规范
GB50974-2014
5.1.13 离心式消防水泵吸水管、出水管和阀门等,应符合下列规定:
12.3.2 消防水泵的安装应符合下列要求: