给排水吸水管如何避免气囊?

给排水吸水管如何避免气囊?

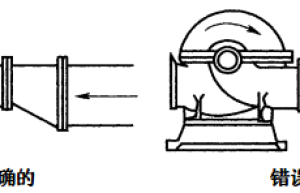
1. 变径应采用偏心异径管,并应管顶平接   15s909—P37 2. 吸水管连接,避免形成气囊 15s90…

联系我们

联系我们

15515572238

在线咨询: QQ交谈

邮箱: 328758160@qq.com

工作时间:周一至周五,9:00-17:30,节假日休息

关注微信
微信扫一扫关注我们

微信扫一扫关注我们

返回顶部
首页
机电课程
永久会员
资料精选
搜索