给水管道支、吊架安装
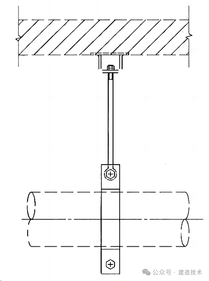
①无热伸长管道的吊架、吊杆应垂直安装;有热伸长管道的吊架、吊杆应向热膨胀的反方向偏移8/2(8为热膨胀的位移量)。
![]() |
![]() |
|
无热伸长管道的吊架、吊杆安装示意图 |
有热伸长管道的吊架、吊杆安装示意图 |
②塑料管及复合管垂直或水平安装的支、吊架间距应符合下表规定。

③采用金属制作的管道支架,应在塑料管道与支架间加衬非金属垫或套管。
![]() |
![]() |
|
管道与支架间加衬非金属垫或套管示意图 |
|
④有色金属管道组成件与黑色金属管道支架之间不得直接接触,应采用同材质或对管道组成件无害的非金属隔离垫等材料进行隔离。
⑤金属管道立管管卡安装应符合下列规定:
1)楼层高度H小于或等于5m,每层必须安装1个管卡。
2)楼层高度H大于5m,每层不得少于2个管卡。
3)管卡安装高度,距地面L应为1.5~1.8m;2个以上管卡应匀称安装,同一房间管卡应安装在同一高度上。

立管管卡安装示意图
室内给水管道安装
①冷热水管道上下平行安装时热水管道应在冷水管道上方,垂直安装时热水管道应在冷水管道左侧。
②给水引入管与排水排出管的水平净距L不得小于1m。
③室内给水与排水管道平行敷设时,两管间的最小水平净距L不得小于0.5m。

给水管与排水管平行敷设示意图
1–排水管;2–给水管
④室内给水与排水管道交叉敷设时,垂直净距H不得小于0.15m。

给水管与排水管交叉敷设示意图
1–排水管;2–给水管
⑤给水管应铺在排水管上面,若给水管必须铺在排水管的下面时,给水管应加套管,其长度L不得小于排水管管径的3倍。

给水管敷设在排水管下方加设套管安装示意图
1–排水管;2–给水管;3–套管
⑥给水水平管道应有2‰~5‰的坡度坡向泄水装置。
室外给水管网安装
①给水管道与污水管道在不同标高平行敷设,其垂直间距在500mm以内时,给水管管径小于或等于200mm的,管壁水平间距不得小于1.5m;管径大于200mm的,不得小于3m。
②给水系统各种井室内的管道安装,如设计无要求,井壁距法兰或承口的距离L的要求:当管径D小于或等于450mm时,L不得小于250mm;当管径D大于450mm时,L不得小于350mm。

管井内管道法兰或承口安装示意图
1–管道井;2–管道;3–法兰





