16年的“基建神话”,为何成了债务黑洞?
16年前,西安建工以“城市建设主力军”的姿态横空出世,从西安城墙根下的老牌国企,到跻身中国企业500强,它曾是西部基建的标杆。6月30日,上海清算所所属的网站发布了公告,之前由海通证券和交通银行一起承销的,西安建工集团发行于2021年第一批中期票据,在法定期限内没有按时兑付本金和利息,已经构成实质性的违约了。

公告显示,上述中期票据简称“21西安建工MTN001”,发行金额4亿元,发行期限3年,原本兑付时间为2024年8月18日,目前存续金额为2.49亿元,主承销商为交通银行和海通证券。
当西安建工董事长马勇在2024年底宣称“已度过最困难时期”时,没人想到半年后,这家企业的货币资金仅剩7.68亿元,却要面对50.15亿元的短期债务。更讽刺的是,其应收账款高达101.21亿元,其中涉及恒大的13个项目就有4.34亿元坏账 。

一、暴雷背后的四重致命伤
1. 房地产“甜蜜陷阱”:成也地产,败也地产
官网资料显示,西安建工成立于2009年,由西安市城市建设开发集团公司、西安市建筑工程总公司、西安市建筑设计研究院合并组建而来,是在西安本土崛起的大型国有建设企业集团。
西安建工的工程施工业务以房建为主,深度绑定恒大、绿地等房企。2023年,恒大暴雷直接导致其计提4.34亿元坏账,而绿地控股自身陷入流动性危机后,更切断了对西安建工的输血。更致命的是,西安建工在向省外拓展时,过度下沉到财政压力过重区域,导致大量工程款无法回收 。
然而,2024年8月19日,一则公告震惊市场:因10.87亿元债务逾期,这家总资产超700亿的老牌国企正式暴雷,被列入失信被执行人名单 。
西安建工集团,提出通过处置现有资产等方式与持有人协商债务化解方案。
据悉,西安建工2024年年报显示,西安建工集团已逾期未偿还的短期借款合计15.37亿元。其中,一年内到期的租赁负债逾期金额为0.19亿元,一年内到期的长期应付款逾期金额为2.86亿元,一年内到期的长期借款逾期金额为2.61亿元。
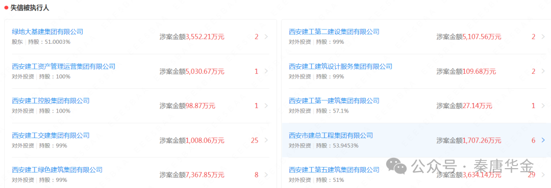
截至2025年7月初,西安建工集团现存16条被执行人信息,被执行金额超过20亿元。

旗下的多家相关子公司包括西安建工绿色建筑集团有限公司,西安市城市建设开发集团有限公司,西安建工控股集团有限公司等也已被列入失信被执行人。

2. 混改“双刃剑”:从国资背书到风险失控
2017年,绿地控股以10.7亿元控股西安建工,形成“国资+民资”的混改结构。但这场看似“强强联合”的改革,却埋下隐患 :
– 股权结构失衡:绿地持股51%,西安市国资委仅34%,导致决策偏向激进扩张。

– 风控体系失效:混改后,西安建工资产负债率连续多年超80%,远高于70%的警戒线,但管理层仍盲目承接高风险项目 。
– 造血能力缺失:2023年营收同比下滑59.59%,净利润亏损9.07亿元,创16年最差业绩 。

3. 应收账款“堰塞湖”:千亿营收换不来现金流
截至2024年一季度,西安建工应收账款高达101.21亿元,占流动资产14.49%。这些账款中,既有恒大等房企的“烂尾账”,也有地方政府项目的“拖油瓶”。更严重的是,其应收账款账龄普遍超过3年,部分欠款方已被列为失信被执行人 。
4. 债务结构“畸形化”:短债长投的致命游戏
西安建工流动负债占比91%,而货币资金仅能覆盖15%的短期债务。更讽刺的是,其存货中94.57亿元为房地产开发成本,在行业下行周期中几成“不动产”。这种“短债长投”的畸形结构,最终被市场反噬 。
二、行业警示:当“规模崇拜”遇上“市场出清”
西安建工的暴雷,撕开了国企改革的深层矛盾:
– 路径依赖之痛:长期依赖房地产和政府项目,导致抗风险能力薄弱。对比云南白药混改后聚焦大健康产业,西安建工仍在“基建红海”中挣扎。

– 国资监管之困:西安市国资委虽持股34%,却未能有效制衡绿地的扩张冲动。反观天津建工混改后,通过“国资+战投+员工持股”的三元结构,实现营收三年翻番 。
– 市场出清之殇:2025年,已有17家国资控股企业退市,占退市总数23%。西安建工的暴雷,正是“规模崇拜”与“市场出清”碰撞的必然结果 。
三、破局之路:从“输血”到“造血”的生死抉择
面对危机,西安建工并非无路可走:
– 债务重组:参考山东晨鸣纸业引入地方AMC处置坏账的经验,西安建工可联合陕西金资等机构,对恒大项目进行资产证券化 。
– 战略收缩:效仿格力电器剥离非核心业务,西安建工可聚焦市政、环保等现金流稳定领域,逐步退出高风险房建项目。
– 混改深化:借鉴云南白药“国资管资本、民资管经营”的模式,西安市国资委应通过“优先股+表决权委托”重塑治理结构。
结尾:当‘基建巨人’倒下,改革的号角才刚刚吹响
西安建工的暴雷,不是国企改革的终点,而是深化改革的起点。当“规模崇拜”遇上“市场出清”,当“混改红利”耗尽“国资兜底”幻觉,唯有打破路径依赖,才能让老牌国企重焕生机。
数据来源:
1. 西安建工2024年一季报及大公国际评级报告
2. 绿地控股及西安建工公告
3. 国务院国资委《2023年度国有资产管理情况报告》

